二位四通电磁换向阀
- 产品型号:YC24D
- 产品结构:直动式
- 产品压力:PN16
- 产品材质:铝
- 产品规格:DN15
声 明:
产品描述中所有文字、数据、图片仅供参考,实际型号由使用工况决定!如果您需要更详细了解【二位四通电磁换向阀】的相关信息或索取相关资料,请联系我们
二位四通电磁阀YC24D原理:
YC24D二位四通电磁阀常用于快开式排泥阀等阀门的配套使用,安装在各类池子外,用以排除池底泥沙或污水,特别适合于钢铁、铸造、排污等环境条件恶劣的工作场合。YC24D二位四通电磁阀是零起动直式电磁滑阀,可直接通过电信号进行工作,可任意位置安装。在工作系统中,电磁铁接受电信号,使推动阀芯换向,改变介质流通方向,电信号消失后,阀芯靠弹簧自动复位,达到自动控制的目的,并带有手动装置。它结构简单、动作可靠、维修方便、密封性能好、耐振、寿命长等优点。二位四通电磁换向阀YC24D用于液动系统中改变液流方向的控制对排泥阀开启和关闭作用。
YC24D二位四通电磁阀参数:
公称通径:15MM
公称压力:1.6MPa
工作压力:0~1.0MPa
流通介质:水液、空气、油等无腐蚀性液体
介质温度:≤60℃(不冻结)
允许温升:85℃
额定流量:10m3/h
工作寿命:60万天/次
电源电压:AC220V DC24V
消耗功率:20W左右
|
 |
YC24D二位四通电磁阀安装及维修:
1、电磁滑阀可任意位置安装。
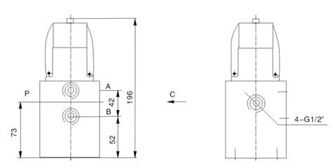
2、安装时,P为介质进口,“A"、“B"为介质出口,“O"为排放口。
3、接管螺纹为G1/2(或可按用户要求改为M20×1.5)见外形尺寸图。
4、管路连接处不得漏气,按管前需先用干燥压缩空气将管道内灰尘及脏物吹净,并且阀前要安装大于100目的过滤器。
5、阀的故障:有通电不换向;停电不复位;泄漏三种。故障原因:线圈可能烧掉或连接不牢固;阀芯卡住;弹簧损坏,密封圈破损等。排除故障:更换线圈或重新连接;清洗阀芯,更换弹簧,密封件。